Facebook Instagram

Český horolezecký svaz

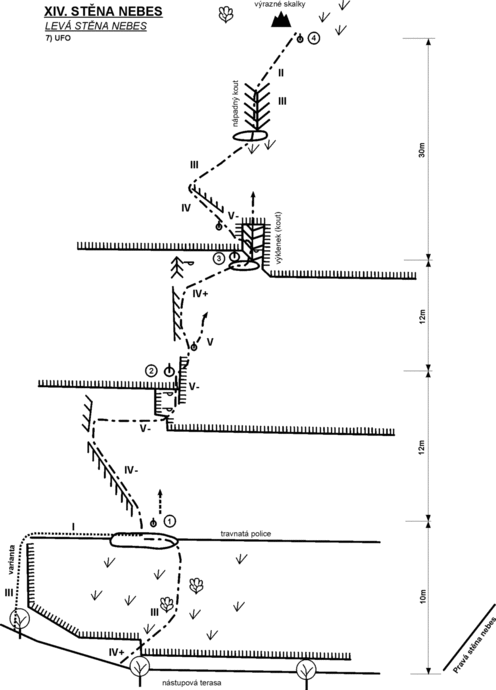
UFO | 5- | (UIAA)

80m

8 hodnocení

Karel Bělina, J. Havlák, Z. Hubka, 14.2.1971


Výstup vede zhruba stř. stěny přes "kříž", (vodorovná hrana převisů a svislá linie zářezů a kouta tvoří útvar podobný kříži), který se nachází asi ve 2/3 výšky stěny. Orientačním bodem pro přístup k úpatí Stěny nebes je Cvičná stěna, která se nachází v (Z) prostoru nad chatou cca 20 m od turistické cesty, je vysoká asi 15 m a v její horní části je kovová konstrukce na nácvik pádů. Zl. či zpr. svahem dojdeme k vrcholu této stěny. Odtud se vydáme asi 20 m vl. vzhůru na trav. terasu se stromy. Zde je N cesty UFO. Ze středu terasy př. trav. stěnou asi 9 m k 1. kr. (1. stanoviště). (Sem též možno z levého okraje terasy 4 m koutkem vzhůru a 6 m T po trav. římse ke kr. ). Dále položenou stěnou na tření šikmo dol. vzhůru asi 8 m k výraznému balvanu (jištění) pod pásem převisů a od něj 2 m T zpět dopr. do zářezu pod malý převísek (sk. ). Př. 5 m přes něj ke 2. kr. (2. stanoviště). Od něj podél trhliny mírně vpr. asi 4 m ke 3. kr. Od něj zl. podél trhliny asi 5 m vzhůru (sk. ) a T 2 m šikmo dopr. do kříže (kříž = vhloubení s policí) ke 4. kr. (3. stanoviště). Vhloubením asi 2 m vzhůru (sk. ) a šikmou lávkou dol. kolem 5. kr. stěnou asi 8 m mírně vl. až do položené stěny. Zde se stáčíme zpět šikmo dopr. 15 m vzhůru do výrazného trav. kouta. Jím 5 m na jeho konec a dále mírně vpr. 8 m k výrazným skal. blokům k 6. kr. (4. stanoviště = slanění).

Časové omezení

Ochrana přírody: lezení povoleno celoročně
NPR Bořeň - OOP 2021-2030, orgán OP CHKO České středohoří

Podmínky lezení

Povolení platí pro sportovní lezení. Neplatí pro bouldering, drytooling, slackline a highline.

- přístup jen po turistických cestách nebo značených přístupových cestách - podrobný popis cest je v opatření obecné povahy
- zahnízdění ptactva hlásit správci skal
- lezení jen za denního světla

- zákaz poškozování a měnění povrchu skal

- zákaz používání jisticích prostředků poškozujících skálu
- zákaz používání zimní lezecké výzbroje

- zákaz slaňování pomocí stromů a keřů, zákaz zasahování do vegetace a uvolňování kamenů
- zákaz prvovýstupů bez souhlasu správce skal, který vyjedná souhlas s orgánem OP

OVK: 

- zákaz dělání cest shora bez předchozího souhlasu OVK,
- zákaz využívání skal a vrcholových knih ke komerčním účelům; jakýkoli záměr musí být konzultován se správcem, s OVK

OVK Severozápadní Čechy | Hlášení závad | Správce Ladislav Vörös | Pravidla lezení

Osobnosti historie

Obrázková galerie

UFO
Vložit nový obrázek

Legenda k ikonám

  • Zákaz lezení
  • Částečný zákaz lezení
  • Zákaz kvůli hnízdění
  • Zákaz částí kvůli hnízdění
  • Tradiční pískovcové lezení
  • Tradiční lezení
  • Sportovní lezení
  • Skalní lezení
  • Bouldering
  • Drytooling a mix
  • Ledolezení
  • Kolmá cesta
  • Položená cesta
  • Převislá cesta
  • Střecha
  • Jištění nýty a kruhy
  • Jištění vklíněnci
  • Jištění smyčkami
  • Cesty na slunci
  • Cesty ve stínu
  • Vhodné pro pobyt dětí
  • Lezecký park
  • Výcvik
  • Nebezpečí
  • Typická spárová cesta
  • Poškozená cesta

Upozornění

6. 5. Skály aktuálně uzavřené v Saském Švýcarsku: Článek UZAVÍRKY SKAL KVŮLI HNÍZDĚNÍ na webu. Odkaz na PDF také u Labských pískovců.
Instagram

Instagram Horosvaz

Partner skály